Niekto je ich fanúšikom, niekto ich z duše nenávidí. Reč je o obrazovkách v automobiloch. Hyundai však prichádza s ďalšou možnosťou.
Už teraz sa niektorým zdvíha žalúdok, keď vidia v novom EQS Hyperscreen s veľkými tabletmi. Na prvý pohľad už toto je ako zo sci-fi filmu, no Hyundai však túto métu ešte dokázal posunúť o level vyššie. Respektíve postupne dokazuje, umiestnenie displeja posunuli na inú úroveň a to rovno do stredu volantu. Kórejci sa tejto idei držia už zopár rokov.

V roku 2019 boli zverejnené dve štúdie, na ktorých tento koncept stavia a postupne ich rozvíjajú. Prvým bola štúdia HMI Virtual Cockpit, ktorá počítala dokonca s dvojicou umiestnených dotykových obrazoviek do ramien volantu. Tu mali obrazovky nahradiť klasické tlačidlá, no stred volantu, kde je umiestnený klaksón ostal nezmenený.
Na New Yorskom autosalóne roku 2019 bol však predstavený koncept futuristického elektrického mestského auta Genesis Mint Concept. Toto auto bolo určené výhradne pre dve osoby, no stred volantu už absentoval – tu bola použitá zapustená obrazovka.
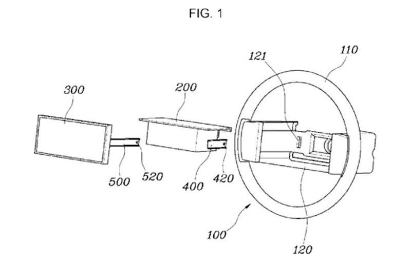
Hyundai to však s obrazovkou namiesto klaksónu myslí naozaj vážne, ako ukazujú patentové snímky. Dvojramenný volant so silnejšími ramenami a stred s obrazovkou. Podľa špekulácií by mohlo ísť o digitálny prístrojový štít, prípadne rozšírené informácie o vozidle. Polemizuje sa aj o tom, že takto umiestnená obrazovka by mohla mať dotykovú funkciu, vďaka čomu by bola lepšia interakcia na jednotlivé podnety šofér-auto.
Pozastavme sa však a spomeňme si na nový volant Tesla Model S Plaid, kde dotyková tlačidlá na volante nie sú vždy výhrou. Kam nám teda zmizol airbag? Ten by podľa informácií mal byť umiestnený priamo za obrazovkou. Kórejci počítajú s nezávislým upevnením obrazovky a takisto aj airbagu, vďaka čomu by nedošlo k ujme obrazovky pri výstrele.
Berme však tieto skice stále s nadhľadom. Stále sa jedná iba o koncept, ktorý nemusí nikdy uzrieť svetlo sveta. Hyundai však dokázal znova rozvíriť automobilové vlny a vidinu, kam by sa mohli interiéry vozidiel uberať.











































