
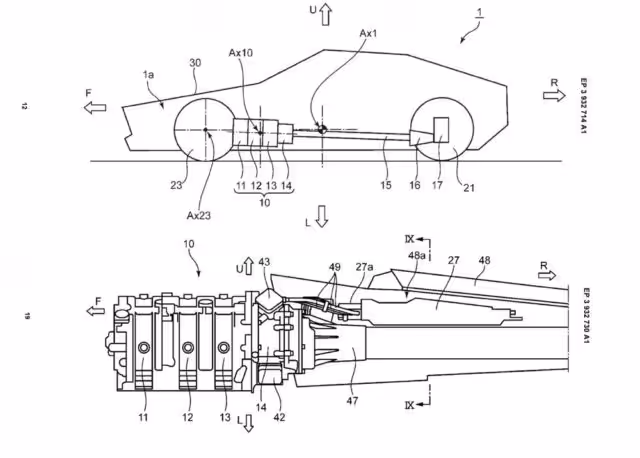
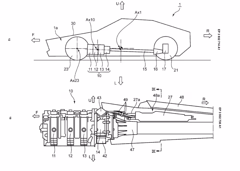
Najnovší vývoj v dlhotrvajúcej ságe o športových automobiloch Mazda s takzvaným Wanklovým motorom je opätovne nažive. Na niektorých nedávno podaných patentových obrázkoch možno vidieť športové auto s pohonom zadných kolies poháňané rotačným Wankel motorom.
Mazda sa môže chváliť Wankelovými predchodcami RX-7 a RX-8. Nový model má dostať až trojrotorový motor. Jediná cestná Mazda, ktorá bola takto nakonfigurovaná, niesla názov Eunos Cosmo. Vozidlá s označením RX používali dvojrotorové motory.
Navrhované kupé sa odlišuje od svojich predchodcov a obsahuje prevodovku transaxle, ako aj elektrickú asistenciu prostredníctvom hybridného systému. Zatiaľ to všetko vyzerá sľubne, takže možnosť, že sa dočkáme aj sériovej produkcie je stále v hre.

Má svoje využitie
Existuje niekoľko dôvodov na optimizmus. Po prvé, Mazda vyvinula nový, malý rotačný motor ako takzvaný “predlžovač dojazdu” pre model MX-30, o ktorom už skôr povedala, že pomáha udržiavať technológiu pri živote pre mýtické pokračovanie RX-8. Po druhé, spoločnosť má svoju novú platformu pre viacero zo svojich modelov. Práve preto by takýto typ motoru mohol byť ideálnym pre nový športový model značky.
Platforma obsahuje pozdĺžne uložený motor a vyvinuli ju s ohľadom na mild hybridné aj plug-in hybridné modely. Túto platformu navrhli pre členov úplne novej rodiny motorov Mazda. Takéto použitie kompaktného rotačného motora – dokonca aj motora s tromi rotormi – by nemalo spôsôbovať žiadne problémy.

Uspeje alebo upadne do zabudnutia ?
Na druhej strane, patenty neustále prichádzajú a odchádzajú bez toho, aby viedli k produkčným aplikáciám. V ríši zabudnutia by tak pokojne mohol skončiť aj tento od Mazdy. Navyše, množstvo príležitostí sa neustále zužuje s emisnými pravidlami Euro 7. Keďže majú vstúpiť do platnosti od roku 2025, mohli by skutočne veľmi sťažiť výrobu automobilu ako je “rotačný” Wankel motor.
Ak by sa Mazde podarilo priniesť niečo také na trh, mohlo by to nakoniec vyzerať ako nádherný koncept RX-Vision. Tento koncept uzrel svetlo sveta ešte v roku 2015 na autosalóne v Tokiu. My im však v týchto plánoch určite držíme place !



































